The learner will identify the components of the GMAW welder power supply and feeder unit system.

GMAW: Welder Power Supply & Feeder Unit System

Question 1 of 10

GMAW: Welder Power Supply & Feeder Unit System

Correct!

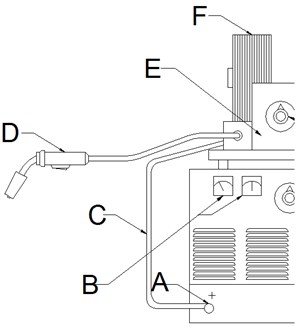
Identify what "A" represents.

question image

Correct Answer

Positive Terminal

 Next Question
Question 1 of 10

GMAW: Welder Power Supply & Feeder Unit System

Incorrect

Identify what "A" represents.

question image

Your Answer

Correct Answer

Positive Terminal

 Next Question
Question 1 of 10

GMAW: Welder Power Supply & Feeder Unit System

Question 1 of 10

GMAW: Welder Power Supply & Feeder Unit System

Correct!

Identify what "B" represents.

question image

Correct Answer

Volt/Amp Meters

 Next Question
Question 1 of 10

GMAW: Welder Power Supply & Feeder Unit System

Incorrect

Identify what "B" represents.

question image

Your Answer

Correct Answer

Volt/Amp Meters

 Next Question
Question 1 of 10

GMAW: Welder Power Supply & Feeder Unit System

Question 1 of 10

GMAW: Welder Power Supply & Feeder Unit System

Correct!

Identify what "C" represents.

question image

Correct Answer

Positive lead

 Next Question
Question 1 of 10

GMAW: Welder Power Supply & Feeder Unit System

Incorrect

Identify what "C" represents.

question image

Your Answer

Correct Answer

Positive lead

 Next Question
Question 1 of 10

GMAW: Welder Power Supply & Feeder Unit System

Question 1 of 10

GMAW: Welder Power Supply & Feeder Unit System

Correct!

Identify what "D" represents.

question image

Correct Answer

Gun

 Next Question
Question 1 of 10

GMAW: Welder Power Supply & Feeder Unit System

Incorrect

Identify what "D" represents.

question image

Your Answer

Correct Answer

Gun

 Next Question
Question 1 of 10

GMAW: Welder Power Supply & Feeder Unit System

Question 1 of 10

GMAW: Welder Power Supply & Feeder Unit System

Correct!

Identify what "E" represents.

question image

Correct Answer

Wire feeder

 Next Question
Question 1 of 10

GMAW: Welder Power Supply & Feeder Unit System

Incorrect

Identify what "E" represents.

question image

Your Answer

Correct Answer

Wire feeder

 Next Question
Question 1 of 10

GMAW: Welder Power Supply & Feeder Unit System

Question 1 of 10

GMAW: Welder Power Supply & Feeder Unit System

Correct!

Identify what "F" represents.

question image

Correct Answer

Electrode wire

 Next Question
Question 1 of 10

GMAW: Welder Power Supply & Feeder Unit System

Incorrect

Identify what "F" represents.

question image

Your Answer

Correct Answer

Electrode wire

 Next Question
Question 1 of 10

GMAW: Welder Power Supply & Feeder Unit System

Question 1 of 10

GMAW: Welder Power Supply & Feeder Unit System

Correct!

Identify what "G" represents.

question image

Correct Answer

Flowmeter

 Next Question
Question 1 of 10

GMAW: Welder Power Supply & Feeder Unit System

Incorrect

Identify what "G" represents.

question image

Your Answer

Correct Answer

Flowmeter

 Next Question
Question 1 of 10

GMAW: Welder Power Supply & Feeder Unit System

Question 1 of 10

GMAW: Welder Power Supply & Feeder Unit System

Correct!

Identify what "H" represents.

question image

Correct Answer

Pressure Gage

 Next Question
Question 1 of 10

GMAW: Welder Power Supply & Feeder Unit System

Incorrect

Identify what "H" represents.

question image

Your Answer

Correct Answer

Pressure Gage

 Next Question
Question 1 of 10

GMAW: Welder Power Supply & Feeder Unit System

Question 1 of 10

GMAW: Welder Power Supply & Feeder Unit System

Correct!

Identify what "I" represents.

question image

Correct Answer

Shielding Gas

 Next Question
Question 1 of 10

GMAW: Welder Power Supply & Feeder Unit System

Incorrect

Identify what "I" represents.

question image

Your Answer

Correct Answer

Shielding Gas

 Next Question
Question 1 of 10

GMAW: Welder Power Supply & Feeder Unit System

Question 1 of 10

GMAW: Welder Power Supply & Feeder Unit System

Correct!

Identify what "J" represents.

question image

Correct Answer

Amperage/Wire Control

 Next Question
Question 1 of 10

GMAW: Welder Power Supply & Feeder Unit System

Incorrect

Identify what "J" represents.

question image

Your Answer

Correct Answer

Amperage/Wire Control

 Next Question
Question 1 of 10

GMAW: Welder Power Supply & Feeder Unit System

Question 1 of 10

GMAW: Welder Power Supply & Feeder Unit System

Correct!

Identify what "K" represents.

question image

Correct Answer

On/Off switch

 Next Question
Question 1 of 10

GMAW: Welder Power Supply & Feeder Unit System

Incorrect

Identify what "K" represents.

question image

Your Answer

Correct Answer

On/Off switch

 Next Question
Question 1 of 10

GMAW: Welder Power Supply & Feeder Unit System

Question 1 of 10

GMAW: Welder Power Supply & Feeder Unit System

Correct!

Identify what "L" represents.

question image

Correct Answer

Power Supply

 Next Question
Question 1 of 10

GMAW: Welder Power Supply & Feeder Unit System

Incorrect

Identify what "L" represents.

question image

Your Answer

Correct Answer

Power Supply

 Next Question
Question 1 of 10

GMAW: Welder Power Supply & Feeder Unit System

Question 1 of 10

GMAW: Welder Power Supply & Feeder Unit System

Correct!

Identify what "M" represents.

question image

Correct Answer

Voltage Control

 Next Question
Question 1 of 10

GMAW: Welder Power Supply & Feeder Unit System

Incorrect

Identify what "M" represents.

question image

Your Answer

Correct Answer

Voltage Control

 Next Question
Question 1 of 10

GMAW: Welder Power Supply & Feeder Unit System

Question 1 of 10

GMAW: Welder Power Supply & Feeder Unit System

Correct!

Identify what "N" represents.

question image

Correct Answer

Work Clamp

 Next Question
Question 1 of 10

GMAW: Welder Power Supply & Feeder Unit System

Incorrect

Identify what "N" represents.

question image

Your Answer

Correct Answer

Work Clamp

 Next Question
Question 1 of 10

GMAW: Welder Power Supply & Feeder Unit System

Question 1 of 10

GMAW: Welder Power Supply & Feeder Unit System

Correct!

Identify what "O" represents.

question image

Correct Answer

Work lead

 Next Question
Question 1 of 10

GMAW: Welder Power Supply & Feeder Unit System

Incorrect

Identify what "O" represents.

question image

Your Answer

Correct Answer

Work lead

 Next Question
Question 1 of 10

GMAW: Welder Power Supply & Feeder Unit System

Question 1 of 10

GMAW: Welder Power Supply & Feeder Unit System

Correct!

Identify what "P" represents.

question image

Correct Answer

Negative Terminal

 Finish
Question 1 of 10

GMAW: Welder Power Supply & Feeder Unit System

Incorrect

Identify what "P" represents.

question image

Your Answer

Correct Answer

Negative Terminal

 Finish
Question 1 of 10
GMAW: Welder Power Supply & Feeder Unit System

Score

You have answered 5 of 10 questions correctly.

50%

Start Over

See other flashcards and apps related to:

Question 1 of 10
Author
Published
6/3/2015
Last Updated
6/3/2015
Tags

No Comments Yet

Creative Commons License
GMAW: Welder Power Supply & Feeder Unit System by Fox Valley Technical College is licensed under a Creative Commons Attribution 3.0 Unported License.